Tapered insulation design solutions created with your specific project needs in mind

Tapered polyiso insulation resources

Tapered insulation design solutions created with your specific project needs in mind

Full-service tapered design and takeoff solutions

Rely on your dedicated regional GAF Tapered Design Specialist for detailed, high-quality solutions that can help you deliver on every project. To be put in touch with a specialist, please reach out to your local Commercial Sales Representative.
GAF Tapered Design Group is here to help | GAF Roofing

GAF Tapered Design Group Is Here To Help | GAF Roofing

GAF's Tapered Design Group offers a multitude of services to contractors, distributors, architects and building owners. We will work with you to select the right strategy for your project utilizing design, material selection, inventory management, budget and r value to best meet your needs.

What we offer

fpo

Optimize system performance

Get tapered design strategies that help optimize drainage, achieve thermal resistance, and address project-specific needs.
fpo

Collaborate on existing designs

Work with our tapered design professionals to evaluate and optimize your own tapered design, including development of free alternative proposals.
fpo

Rely on regional insight

Our regionalized tapered insulation design professionals understand local conditions, and work with contractors, distributors, architects, and consultants nationwide.
fpo

Educational assistance

Learn from videos, on-site presentations, and other materials to help you better understand tapered design and our Tapered Design Group solutions.

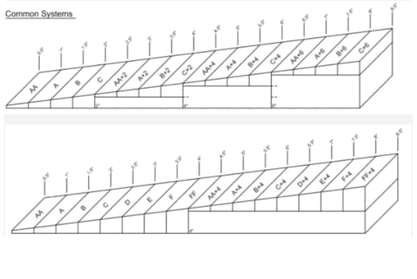
Promote positive drainage with tapered design

See how common tapered layout designs help drive rain water to the roof drains to promote positive drainage.

View tapered polyiso insulation products

View products

Tapered insulation resources

Whether you need tapered designs, layout strategies, or suggestions on how to handle unique job site conditions, the GAF Tapered Design Group offers trained specialists and a comprehensive offering of products and other resources.
Diagram of standard vs. extended taper insulation panel systems

Standard VS. Extended Panel Systems

Extended panel systems use larger-than-standard insulation boards as fill and base layers in order to increase installation efficiency. As shown in the diagram, this results in fewer layers, which in turn can help reduce the amount of panels and adhesive needed to install the tapered system.
Tapered Design Manager Andy Seymour discusses taper fundamentals

Tapered design fundamentals

Join Tapered Design Manager Andy Seymour for a discussion of some Tapered Design fundamentals, including key terminology, as well as guidelines for choosing the most effective cricket width and slope for your unique challenge.
Human finger pointing to specific area in a GAF tapered design plan

Understanding Your Tapered Roof Design Plan from GAF

Working with the GAF Tapered Design Group, GAF Senior Commercial Training Specialists Dave Scott and Wally Brown (Dave & Wally) evaluate a plan for optimizing roof drainage using tapered ISO insulation. See how it all comes together in Part 4 of the Roofing it Right miniseries on installing a commercial roof, from start to finish.

Tapered systems labeled by area boost on-site efficiency

To help increase efficiency unloading, sorting, and staging, GAF can ship your complete tapered system pre-sorted and pre-labeled by roof area. For more information, please contact the GAF Tapered Design Group.
United States map image: Tapered design map showing all three Tapered Design regions: West and International, North, and South.

Start the conversation

The GAF Tapered Design Group offers trained specialists and a comprehensive offering of products and other resources. All our TDG design specialists serve a specific region to help their understanding of all the details of your projects, so every design and take-off meets specifications with unsurpassed quality and attention to detail that can help you secure the job. Connect with the products and people you need to get the job done.

Tapered installation training

GAF trainers and roofing veterans Dave & Wally of the Roofing it Right video series provide an overview of a roof project from start to finish — including tips on installing tapered ISO insulation.

How to Correctly Install Tapered Roof Insulation | Roofing it Right with Dave & Wally by GAF

Dave & Wally talk through the tapered plan created by GAF's Tapered Design Group, and show the considerations and steps for how the tapered plan gets installed across the roof deck of our project building.

How to Intersect Tapered Roof Panels For Proper Slope | Roofing it Right with Dave & Wally by GAF

Dave & Wally show us how to plan and install the right tapered panels to ensure an even transition and proper slope toward one of our project building's two roof drains.
Commercial workers installing roofing materials on a large building with a crane lifting supplies

GAF Commercial: Building around you

See how we’re taking customer feedback, research, and good old conversation — and turning it into constant improvement.