Tapered insulation design solutions created with your specific project needs in mind

Ressources relatives à l'isolation progressive en polysio

Des solutions de conception d'isolation biseautée créées pour répondre aux besoins spécifiques de votre projet

Solutions complètes en matière de conception biseautée et de décollement

Faites confiance à votre spécialiste régional GAF en conception biseautée pour obtenir des solutions détaillées et de haute qualité qui vous aideront à mener à bien tous vos projets. Pour être mis en relation avec un spécialiste, veuillez contacter votre représentant commercial local.
GAF Tapered Design Group is here to help | GAF Roofing

Le groupe de conception biseautée de GAF est à votre disposition | Toiture GAF

Le groupe de conception biseautée de GAF propose une multitude de services aux entrepreneurs, aux distributeurs, aux architectes et aux propriétaires. Nous vous assisterons pour la sélection de la stratégie adéquate pour votre projet en utilisant la conception, la sélection des matériaux, la gestion des stocks, le budget et la valeur R pour répondre au mieux à vos besoins.

Notre offre

fpo

Optimisez les performances du système

Découvrez des stratégies de conception biseautée qui vous permettent d'optimiser le drainage, d'assurer la résistance thermique et de satisfaire des besoins spécifiques au projet.
fpo

Collaborez sur les conceptions existantes

Travaillez avec nos professionnels de la conception biseautée pour évaluer et optimiser votre conception biseautée, y compris pour élaborer des offres alternatives gratuites.
fpo

Appuyez-vous sur une approche régionale

Nos professionnels régionaux de la conception d'isolation progressive comprennent les conditions locales et travaillent avec des entrepreneurs, des distributeurs, des architectes et des consultants dans tout le pays.
fpo

Aide en matière d'éducation

Apprenez à partir de vidéos, de présentations sur le chantier et d'autres documents qui vous aideront à mieux comprendre la conception biseautée et nos solutions relatives au groupe de conception biseautée.

Favorise un drainage dirigé grâce à une conception biseautée

Voyez comment la conception des plans biseautés courants permet de conduire l'eau de pluie vers les drains de toit afin de favoriser un drainage dirigé.

Découvrir les produits isolants polyiso biseautés

Voir les produits

Ressources en matière d'isolation progressive

Que vous ayez besoin de conceptions biseautées, de stratégies d'aménagement ou de recommandations concernant la gestion de conditions de chantier uniques, le groupe de conception biseautée de GAF met à votre disposition des spécialistes formés et une gamme complète de produits ainsi que d'autres ressources.
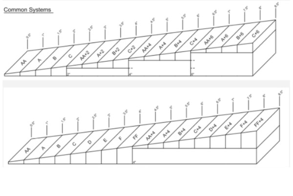
Diagram of standard vs. extended taper insulation panel systems

Systèmes de panneaux standards VS prolongés

Les systèmes de panneaux prolongés utilisent des panneaux d'isolation plus grands que la norme comme couches de remplissage et de base afin d'accroître l'efficacité de l'installation. Comme le montre le diagramme, cela permet de réduire le nombre de couches, ce qui peut contribuer à réduire la quantité de panneaux et d'adhésif nécessaire à l'installation du système biseauté.
Tapered Design Manager Andy Seymour discusses taper fundamentals

Principes de la conception biseautée

Joignez-vous à Andy Seymour, gestionnaire du groupe de conception biseautée, pour une discussion autour des principes de la conception biseautée, y compris la terminologie clé et les directives de sélection de la largeur et de l'inclinaison du dos d'âne la plus adaptée pour votre défi unique.
Human finger pointing to specific area in a GAF tapered design plan

Comprendre votre plan de toiture progressive de GAF

Les grands spécialistes de la formation commerciale chez GAF, Dave Scott et Wally Brown (Dave et Wally) collaborent avec le groupe de conception de toitures progressives de GAF pour l'évaluation d'un plan d'optimisation du drainage du toit au moyen de matériaux isolants ISO progressifs. Voyez comment tout prend forme dans la partie 4 de la mini série « Roofing it Right » sur l'installation d'une toiture commerciale.

Des systèmes biseautés étiquetés en fonction de la surface optimisent l'efficacité sur chantier

Pour améliorer l'efficacité du déchargement, du tri et du transit, GAF peut expédier votre système biseauté complet pré-trié et pré-étiqueté par surface de toiture. Pour plus d'informations, veuillez contacter le groupe de conception biseautée de GAF.
United States map image: Tapered design map showing all three Tapered Design regions: West and International, North, and South.

Entamez la conversation

Le groupe de conception biseautée de GAF met à votre disposition des spécialistes qualifiés et une offre complète de produits et d'autres ressources. Tous les spécialistes du groupe de conception biseautée desservent une région spécifique, ce qui leur permet de mieux comprendre tous les détails de vos projets. Chaque conception et chaque devis sont donc conformes aux spécifications, avec une qualité et un souci du détail inégalés, ce qui peut vous permettre de protéger le travail. Trouvez les produits et les personnes dont vous avez besoin pour faire vos travaux.

Formation à l’installation biseautée

Les formateurs GAF et les experts en toiture Dave et Wally de la série vidéo Une bonne toiture (Roofing it Right) donnent un aperçu d’un projet de toiture du début à la fin – y compris des conseils sur l’installation d’une isolation ISO biseautée.

Comment poser correctement une isolation de toiture progressive | Une bonne toiture avec Dave et Wally de GAF

Dave et Willy nous parlent du plan biseauté créé par le Groupe de conception biseautée de GAF, et nous montrent ce qu'il faut prendre en compte et les étapes d'installation du plan biseauté sur le platelage de notre projet de construction.

Comment croiser des panneaux de toiture progressive pour obtenir l'inclinaison voulue | Une bonne toiture avec Dave et Wally de GAF

Dave et Willy nous montrent comment planifier et installer les bons panneaux biseautés pour assure une transition uniforme et une pente appropriée vers l'un des deux drains de toit de notre projet de construction.
Commercial workers installing roofing materials on a large building with a crane lifting supplies

GAF Commercial : axé sur vous

Voyez comment nous nous servons des commentaires des clients, des recherches et des bonnes vieilles conversations et les transformons en améliorations permanentes.